Конические решетки в устройствах для обеззараживающей обработки зерна
https://doi.org/10.36107/spfp.2021.179
Аннотация
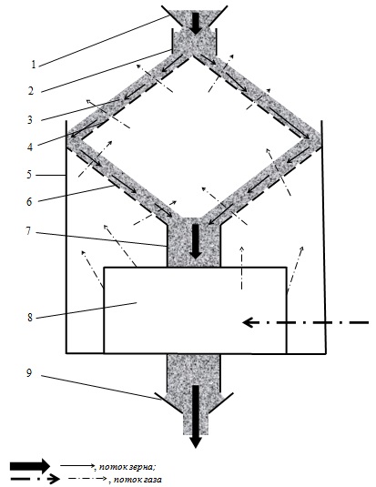
Исходя из ранее выявленной эффективности применения комбинированных обеззараживающих воздействий для обработки семян зерновых культур предложено их выполнение в одном устройстве. Выполнен анализ возможных конструктивных вариантов установок для обеззараживания зерна на основе обработок низкочастотными магнитными полями или электромагнитными полями сверхвысокой частоты в сочетании с воздействием конвективного тепла, по результатам которого сделан выбор в пользу разработки устройства для этапа обработки зерна обеззараживающими газовыми агентами, оснащенного коническими решетками, с разработкой его технологической схемы.
Обоснована конструктивно-технологическая схема установки комбинированного обеззараживания семян зерновых культур и разработана методика определения параметров ее элементов и режимов функционирования.
Рассмотрены условия рационального соотношения газового и зернового потоков в устройстве и предложены основные математические выражения для определения их расходов. Считая определяющим расход потока зерна в зоне электрофизического воздействия по предложенным выражениям могут определяться основные размеры конических решеток и их расположение относительно друг друга, а также время пребывания зерна под воздействием обеззараживающего газового потока. На основе предложенных выражений возможно также решение обратных задач – подбора параметров потоков для рационального использования имеющихся размеров решеток.
Представленные зависимости и методические рекомендации могут применяться при проектировании оборудования для комбинированного электрофизического обеззараживания зерна с использованием конических решеток.
Об авторе
Владимир Андреевич МаксименкоРоссия
ведущий научный сотрудник лаборатории био энерготехнологий, СКНИИМЭСХ ФГБНУ "АНЦ "Донской", кандидат технических наук (SPIN-код: 2509-9795)
Список литературы
1. Андреев, С. А. (1987). Установка для СВЧ-обработки семян (Автореферат дисс. … канд. техн. наук). М.: МИИСП им. В.П. Горячкина.
2. Андрющенко, Ю. А., Буханцов, К. Н. (2007). Исследование процесса обеззараживания зерновых материалов от плесневых грибов разными способами на основе озонирования. В Экология и сельскохозяйственная техника: Сборник научных трудов по Материалам 5-й Междунарадной научно-практической конференции (т. 2, с. 216-225). СПб.: Северо-Западный НИИМЭСХ РАСХН.
3. Буханцов, К. Н. (2015). Математическая модель процесса обеззараживания увлажненного водой зерна сочетанием конвективного нагрева и обработки электромагнитным полем сверхвысокой частоты. Электротехнические комплексы и системы управления, 1, 9-23.
4. Буханцов, К. Н. (2012). Озон и аэроионы: возможности и проблемы использования для сушки зерна. Хранение и переработка сельхозсырья, 9, 13-16.
5. Васильев, А. А. (2018). Обоснование режимов послеуборочного обеззараживания зерна с использованием поля СВЧ (Дисс. канд. техн. наук). М.: Донской государственный аграрный университет.
6. Дубровин, А. В. (2017). Технологически или экономически оптимальные инфракрасная и кондуктивная сушка и озонирование при обеззараживании зерна и комбикормов для птицы. Вестник ВИЭСХ, 2, 32-44.
7. Максименко, В. А., Андреев, А. И., Громакова, Л. В., & Парапонов А.А. Оценка влияния электрофизических обработок семян пшеницы на прочность соломы. В Ресурсосберегающие технологии: возделывание и переработка сельскохозяйственных культур: Сборник научных трудов инновационные проекты в АПК (с. 243-249). Зерноград: ВНИПТИМЭСХ.
8. Пахомов, А. И. (2016). Комбинированная технология обеззараживания зерна. Хранение и переработка зерна, 2, 27-29.
9. Пахомов, А. И., Максименко, В. А., Буханцов, К. Н., & Ватутина, Н. П. (2020). Комбинированный конвективно-магнитный метод обеззараживания семенных материалов в АПК. Техника и оборудование для села, 3, 33-36. https://doi.org/10.33267/2072-9642-2020-3-33-36
10. Пахомов, А. И., Максименко, В. А., & Буханцов, К. Н. (2017). Энергетическая оценка комплекта нового оборудования для конвективно-сверхвысокочастотного и низкоконцентрационного химического обеззараживания зерна и семян. Техника и оборудование для села, 11, 27-31.
11. Пахомов, В. И., & Буханцов, К. Н. (2011). Реализация технологий комбинированной сушки, обеззараживания и стимулирования посевных свойств зерна и семян на базе установки «ЭЛЕКТА-1». В Научно-технический прогресс в сельскохозяйственном производстве: Материалы Международной научно-практической конференции (т. 1, с. 196-207). Минск: РУП НПЦ НАН Беларуси по механизации сельского хозяйства.
12. Пахомов, В. И., Газалов, В. С., & Буханцов, К. Н. (2019). Регрессионная математическая модель двухэтапной комбинированной электротехнологии высокотемпературной конвективной сушки и озоновоздушной обработки зерна. Тракторы и сельхозмашины, 1, 81-95. https://doi.org/10.31992/0321-4443-2019-1-81-95
13. Пахомов, В. И., Максименко, В. А., & Буханцов, К. Н. (2013). Энергосберегающая технология высокотемпературной конвективной сушки и озоновоздушной обработки зерна. Хранение и переработка сельхозсырья, 5, 19-25.
14. Пахомов, В. И., Пахомов, А. И., & Максименко, В. А. (2015). Новая технология обеззараживания зерна с применением СВЧ-энергии. Хлебопродукты, 9, 63-65.
15. Сюсюра, Н. А. (2003). Обоснование параметров электроактивированного раствора и режимов работы бездиафрагменного электроактиватора в технологии предпосевной обработки семян зерновых культур (Автореферат дисс. … канд. техн. наук). Зерноград: АЧГАА.
16. Трисвятский, Л. А. (1986). Хранение зерна (5-е изд., перераб). М.: Агропромиздат.
17. Цугленок, Н. В., Цугленок, Г. И., & Шахматов С.Н. (1989). Интенсификация тепловых процессов подготовки семян к посеву энергией ВЧ и СВЧ. М.: ВО Агропромиздат.
18. Червяков, А. В., Курзенков, С. В., Циркунов, А. С., & Крупенин, П. Ю. (2008). Экспериментальное исследование распределения температурного поля в зерновом материале при обработке СВЧ-полем. В Инновационные технологии и технические средства в полеводстве юга России: Сборник научных трудов Международной научно-практической конференции «Инновационные технологии для АПК России» (с. 262-272). Зерноград: ВНИПТИМЭСХ.
19. Cwiklinski, M., von Hörsten, D., Lücke, W., & Wolf, G. (2001). Alternativen zur chemischen Beizung. Saatgutbehandlung mit Mikrowellen- und Hochfrequenzenergie. Landtechnik, 56(1), 28-29. https://doi.org/10.15150/lt.2001.1697
20. Raila, A., Lugauskas, A., Steponavicius, D., Railiene, M., Steponaviciene, A., & Zvicevicius, E. (2006). Application of ozone for reduction of mycological infection in wheat grain. Annals of Agricultural and Environmental Medicine, 13(2), 287-294.
21. Savi, G. D., Piacentini, K. C., Bittencourt, K. O., & Scussel, V. M. (2014). Ozone treatment efficiency on fusarium graminearum and deoxynivalenol degradation and its effects on whole wheat grains (TriticumAestivum L.) quality and germination. Journal of Stored Products Research, 59, 245-253. https://doi.org/10.1016/j.jspr.2014.03.008
Дополнительные файлы
|
|
1. Неозаглавлен | |
| Тема | ||
| Тип | Исследовательские инструменты | |
Посмотреть
(44KB)
|
Метаданные ▾ | |
|
|
2. Неозаглавлен | |
| Тема | ||
| Тип | Исследовательские инструменты | |
Посмотреть
(1MB)
|
Метаданные ▾ | |
Рецензия
Для цитирования:
Максименко В.А. Конические решетки в устройствах для обеззараживающей обработки зерна. Хранение и переработка сельхозсырья. 2021;(2):139-149. https://doi.org/10.36107/spfp.2021.179
For citation:
Maksimenko V.A. Conic Floors in the Seeds Treatment Devices. Storage and Processing of Farm Products. 2021;(2):139-149. (In Russ.) https://doi.org/10.36107/spfp.2021.179






















